Liste rées limites rée température des applications

Matériel Température moyenne℃ Matériel Température moyenne℃
PVC-C -20 ℃ ~ 95 ℃ PVC-U -5 ℃ ~ 45 ℃
FRPP -20 ℃ ~ 120 ℃ HPP -20 ℃ ~ 110 ℃
PVréF 40 ℃ ~ 150 ℃

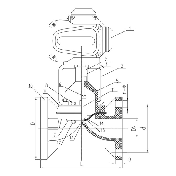
Caractéristiques structurelles du produit

1. Le diaphragme d'étanchéité est en F46 ou PFA, avec une endurance au pliage ≥ 120 000 fois et une résistance à la corrosion comparable à celle du F4.
2. Le mécanisme de levage à vis offre un faible couple d'ouverture et de fermeture et une excellente stabilité.
3. L'actionnement peut être contrôlé à distance via un ordinateur ou un centre de contrôle, contrôlant le débit et le débit du fluide en ouvrant et en fermant la vanne. Cela offre plus de commodité et de rapidité, réduit les coûts de main-d'œuvre et garantit la sécurité des travailleurs sur site.

Tableau des matériaux des pièces

Non. Nom Matériel Qté.
1 Actionneur électrique Alliage d'Aluminium 1
2 Bielle Acier 2
3 Support d'actionneur électrique/pneumatique Fer 1
4 Broche de connexion Acier 1
5 Bonnet HPP, PVC-C, PVC-U, PVDF, FRPP 1
6 Ecrou de joug Acier inoxydable, Cuivre 1
7 Plateau Acier Q345、SS 2
8 Vis Acier,Acier inoxydable 4
9 Plateau Acier Q345、SS 2
10 Corps HPP, PVC-C, PVC-U, PVDF, FRPP 1
11 Tigé Acier,Acier inoxydable 1
12 Bouchon d'écrou Acier,Acier inoxydable 4
13 Plaque de soupape HPP, PVC-C, PVC-U
FRPP,PVDF/fonte
1
14 Cinéma EPDM,FPM 1
15 Diaphragme F46.PFA.PTFE 1

Liste des dimensions
Spécification D d L b n-Φ
15 95 65 125 14 4-Φ14
20 105 75 135 18 4-Φ14
25 115 85 145 18 4-Φ14
32 135 100 160 18 4-Φ18
40 145 110 180 20 4-Φ18
50 160 125 210 22 4-Φ18
65 180 145 250 24 4-Φ18
80 195 160 300 24 8-Φ18
100 225 180 350 28 8-Φ18
125 245 210 400 30 8-18
150 280 240 455 30 8-Φ23x27
200 335 295 570 40 8-Φ22
250 390 350 680 38 12-Φ23
300 445 400 680 38 12-Φ23
Commentaires sur les messages
À propos de nous
Kaixin Pipeline Technologies Co., Ltd.
Fondée en 1999, Kaixin Pipeline Technologies Co., Ltd. est une entreprise de haute technologie intégrant la R&D, la fabrication, les ventes et le service. La société détient plusieurs certifications prestigieuses, notamment Entreprise nationale de haute technologie, PME spécialisée et sophistiquée « Petit géant », Championne nationale d'un produit unique (culture), PME technologique provinciale, PME spécialisée et sophistiquée de Ningbo, Championne d'un produit unique de Ningbo (culture), Centre de R&D sur la technologie des tuyaux et vannes en polymères de Ningbo, Usine verte au niveau du district, Entreprise d'innovation en gestion quatre étoiles de Ningbo et Niveau de maturité 2 des capacités de gestion des données d'entreprise.
Nous sommes spécialisés dans le développement, la produition et la fourniture de produits non métalliques résistant à la corrosion pour les applications chimiques, notamment des vannes, des tuyaux, des raccords de tuyauterie et des pompes résistantes à la corrosion en plastique. Notre gamme de produits couvre des matériaux tels que le PVC-C, le PVC-U, le PVDF, le PPH et le FRPP, avec une gamme complète de types et de spécifications. Notamment, nos vannes papillon peuvent atteindre DN1000 de diamètre, tandis que les tuyaux et raccords s'étendent jusqu'à DN800, comblant ainsi les lacunes du marché et maintenant notre avantage concurrentiel dans l'industrie.
Guidé par le principe « Axé sur la technologie et en phase avec son temps », Kaixin alloue près de 10 millions de RMB par an à la R&D. Nous garantissons une qualité de produit supérieure grâce à une fabrication automatisée standardisée et à un approvisionnement strict en matières premières importées. Conformément à notre stratégie de développement international, nous surveillons en permanence les tendances du marché mondial et exploitons les canaux numériques pour proposer des produits « Made in China » de haute qualité à nos clients du monde entier.
Ningbo • Base de R&D et de production de Fenghua
Avec un investissement total de 200 millions de RMB, Kaixin Ultra-Pure Pipe Technology (Ningbo) Co., Ltd. a créé un nouveau laboratoire de matériaux en collaboration avec des universités et des instituts de recherche, construit une base de fabrication moderne et installé 8 lignes de production entièrement automatisées pour les plastiques modifiés et 8 pour les matériaux polymères. L'installation est dédiée à la R&D, à la production et à l'application de nouveaux plastiques et matériaux polymères modifiés. Kaixin s'engage également à attirer les meilleurs talents dans toutes les disciplines, en favorisant continuellement l'innovation de produits et le développement de la marque, dans le but de devenir un leader mondialement reconnu dans la R&D et la fabrication de vannes, tuyaux et raccords en polymère.
Certificat d'honneur
  • honor
  • honor
  • honor
  • honor
  • honor
  • honor
  • honor
  • honor
  • honor
Actualités